首页
机构简介
领导之窗
主要职责
机构设置
多党合作
工作动态
党派介绍
各民主党派省委会主委
人物风采
民族宗教
民族工作
宗教工作
宗教知识
少数民族
宗教团体
港澳台
工作动态
重点工作
政策阐述
台联
黄埔
非公经济
工作动态
政策阐述
促进“两个健康” 服务“专精特新”——吉林统一战线在行动
人物风采
光彩事业
无党派人士和党外知识分子
工作动态
人物风采
知联会
欧美同学会
新的社会阶层
工作动态
人物风采
新的社会阶层人士联合会
吉林新智
基地建设
侨务工作
工作动态
政策法规
为侨服务
华文教育
文化外宣
一带一路
理论园地
领导论述
专家观点
机关党建
党建工作
廉政建设
群团工作
省委统战部贯彻落实中央统战会议精神专题读书班
统战廉政
信息公开
举报指南
工作动态
党纪法规
典型案例
您现在的位置:
首页
>
统战廉政
>
信息公开
>
组织机构
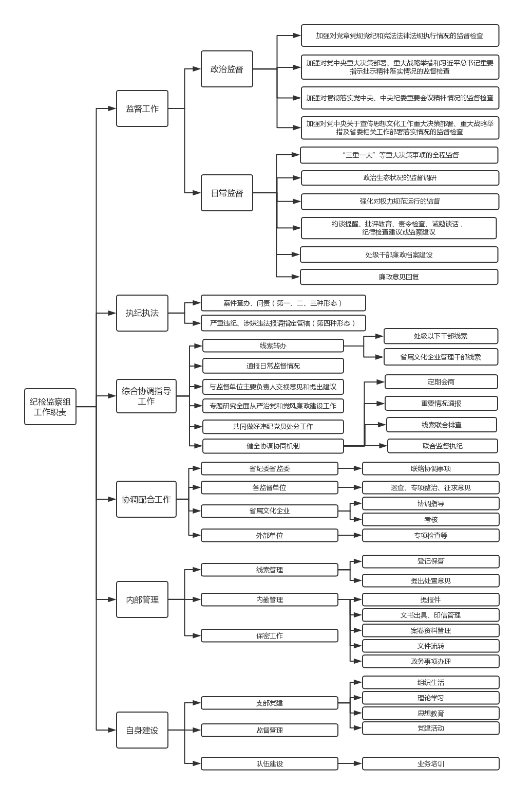
工作组织架构
来源:
日期:2021-06-27 19:10:00
打印
字号:[
大
中
小
]
分享:
友情链接
中央单位
各民主党派省委会
省直统战系统单位
各市州统战部
各省市统战部
中央统一战线工作部
国务院台湾事务办公室
国务院侨务办公室
国务院港澳事务办公室
国家宗教事务局
国家民委
中纪委
中央党校
中国人大网
中国政协网
民革吉林省委会
民盟吉林省委会
民建吉林省委会
民进吉林省委会
农工党吉林省委会
九三学社吉林省委会
台盟吉林省委会
省委台办
省社会主义学院
省侨联
省台联
省黄埔
省工商联
省民委(宗教局)
省中华职教社
长春市委统战部
吉林市委统战部
四平市委统战部
辽源市委统战部
通化市委统战部
白山市委统战部
松原市委统战部
白城市委统战部
延边州委统战部
梅河口市委统战部
北京市委统战部
天津市委统战部
河北省委统战部
山西省委统战部
内蒙古自治区党委统战部
辽宁省委统战部
黑龙江省委统战部
上海市委统战部
江苏省委统战部
浙江省委统战部
安徽省委统战部
福建省委统战部
江西省委统战部
山东省委统战部
河南省委统战部
湖北省委统战部
湖南省委统战部
广东省委统战部
广西自治区党委统战部
海南省委统战部
重庆市委统战部
四川省委统战部
贵州省委统战部
云南省委统战部
西藏自治区党委统战部
陕西省委统战部
甘肃省委统战部
青海省委统战部
新疆维吾尔自治区党委统战部
新疆生产建设兵团党委统战部